Lawsuit alleges Chick-Fil-A discriminates against disabled job applicants
A 25-year-old autistic man in Illinois is suing a local Chick-fil-A restaurant, and the fast-food chain’s parent company, Chick-fil-A Inc., claiming he was denied a job solely because of his disability.
A 25-year-old autistic man in Illinois is suing a local Chick-fil-A restaurant, and the fast-food chain’s parent company, Chick-fil-A Inc., claiming he was denied a job solely because of his disability.
New York, New Jersey, Connecticut among states raising minimum wage
ALBANY, N.Y. (AP) — It will be a happy New Year indeed for millions of the lowest-paid U.S. workers. Nineteen states, including New York and California, will ring in the year with an increase in the minimum wage.
ALBANY, N.Y. (AP) — It will be a happy New Year indeed for millions of the lowest-paid U.S. workers. Nineteen states, including New York and California, will ring in the year with an increase in the minimum wage.
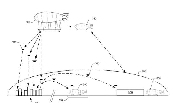
Amazon makes patent request for airborne warehouses
Images of Amazon's approved patent for airborne fulfillment centers have gone viral.
Images of Amazon's approved patent for airborne fulfillment centers have gone viral.
Amazon has 40% off diapers right now
The Huggies brand has a coupon for 20% off 4 different types of diapers.
The Huggies brand has a coupon for 20% off 4 different types of diapers.
2016 in technology trends
In the past year, some major technological demands and trends have emerged. Take a moment and think about it. Chances are just in the past few hours you've had multiple moments of continuous connection with people, information, services and apps. Some call it a "digital mesh." And in 2016 we were introduced to even more life changing gadgets.
In the past year, some major technological demands and trends have emerged. Take a moment and think about it. Chances are just in the past few hours you've had multiple moments of continuous connection with people, information, services and apps. Some call it a "digital mesh." And in 2016 we were introduced to even more life changing gadgets.
Police seek Amazon Echo data in murder case
The Amazon Echo is one of the most popular gifts this holiday season. The smart device can recognize your voice and respond to commands.
The Amazon Echo is one of the most popular gifts this holiday season. The smart device can recognize your voice and respond to commands.
WNBA athletes using app for safety while overseas
The WNBA is currently in its off-season, but dozens of players are staying on top of their game by playing overseas. A new app is helping athletes stay safe when traveling abroad.
The WNBA is currently in its off-season, but dozens of players are staying on top of their game by playing overseas. A new app is helping athletes stay safe when traveling abroad.
The do's and don'ts of re-gifting or returning
Some $46B worth of holiday gifts are returned during the holiday season.
Some $46B worth of holiday gifts are returned during the holiday season.
Last minute holiday shopping
From the world’s largest menorah to the Rockefeller Center Christmas Tree, New York City is in the holiday spirit.
From the world’s largest menorah to the Rockefeller Center Christmas Tree, New York City is in the holiday spirit.
Engineer in NYC crash that killed 4 to get lifetime pension
NEW YORK (AP) -- A published report says an engineer who fell asleep at the controls of a speeding train in New York City and caused a derailment that killed four people will receive a lifetime disability pension.
NEW YORK (AP) -- A published report says an engineer who fell asleep at the controls of a speeding train in New York City and caused a derailment that killed four people will receive a lifetime disability pension.
Holiday splurging not an option for many workers scraping by
At the brightly lit mall, clothing stores highlight holiday sweaters and big signs tout the sales, while Duquan Allen keeps his expectations in check.
At the brightly lit mall, clothing stores highlight holiday sweaters and big signs tout the sales, while Duquan Allen keeps his expectations in check.
Prenups to protect your ideas?
Prenuptial agreements are five times more popular today than they were 20 years ago. A majority of attorneys polled in a recent survey noted an increase in millennials seeking prenups. More surprising though may be what many are hoping to protect: their ideas.
Prenuptial agreements are five times more popular today than they were 20 years ago. A majority of attorneys polled in a recent survey noted an increase in millennials seeking prenups. More surprising though may be what many are hoping to protect: their ideas.
Uber sends SF self-driving cars to Arizona after backlash
SAN FRANCISCO (KTVU) – Uber says it’s pulling its self-driving car pilot program from San Francisco and moving it to Arizona.
SAN FRANCISCO (KTVU) – Uber says it’s pulling its self-driving car pilot program from San Francisco and moving it to Arizona.
Donations to New Jersey's Salvation Army drop
You know it's the holiday season when you hear those bells and see the bright red kettles outside the supermarkets and shopping centers. Every year the Salvation Army and its volunteers are out ringing joy, in return for a donation for the needy.
You know it's the holiday season when you hear those bells and see the bright red kettles outside the supermarkets and shopping centers. Every year the Salvation Army and its volunteers are out ringing joy, in return for a donation for the needy.
Uber pulls self-driving cars from San Francisco streets
Uber said Wednesday that it is parking its self-driving cars that had been operating on San Francisco streets after state regulators said the company did not have the necessary permits.
Uber said Wednesday that it is parking its self-driving cars that had been operating on San Francisco streets after state regulators said the company did not have the necessary permits.
Automated restaurant opens in NYC
Imagine going to eat and never interacting with a server or cashier. You can do that at a new restaurant in New York City.
Imagine going to eat and never interacting with a server or cashier. You can do that at a new restaurant in New York City.
Inside Good Housekeeping's Kitchen Appliances and Technology Lab
Should you spend $500 on a Vitamix blender? Will a $6,000 professional stove top help you cook like a chef?
Should you spend $500 on a Vitamix blender? Will a $6,000 professional stove top help you cook like a chef?
Rent the Runway opens flagship store in NYC
Seven years ago, Rent the Runway changed the way women shop for clothes, letting them borrow what they need and send it back when their done.
Seven years ago, Rent the Runway changed the way women shop for clothes, letting them borrow what they need and send it back when their done.
Proposed bill would ban purchase of junk food with food stamps
A proposed bill in Arkansas seeks to ban the purchase of junk food under government assistance food programs.
A proposed bill in Arkansas seeks to ban the purchase of junk food under government assistance food programs.
New NYC law helps protect freelancers
Every year in the United States, more and more people leave the world of permanent employment for a world where they can create their own schedules, according to Caitlin Pearce of Freelancers Union. But freelancing may not be as freeing as it sounds.
Every year in the United States, more and more people leave the world of permanent employment for a world where they can create their own schedules, according to Caitlin Pearce of Freelancers Union. But freelancing may not be as freeing as it sounds.



















